KPS GLOBAL
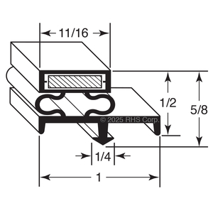
GASKET, MAG 37-3/4 X 83-3/4 3S
| LIST PRICE | $ 176.72 | ||
| YOUR PRICE | $ 176.72 | ADD TO CART | |
MFR Part #: 22-000068
RHS Part #: 12-754
RHS Part #: 12-754
| IN STOCK: | CA | YES |
| CO | Est Days 5 |
PRODUCT INFORMATION
PROP 65 Warning












